Logo
     
  风力发电  
     
WQM 风力发电机齿轮箱油质监测系统
      快速、在线、连续检测润滑油的电导率、介电常数、酸值、氧化度以及非正常磨损等反映齿轮箱运行状态的关键参数。
概述
      WQM是独特、全新的油状态在线监测系统。早期发现油质变化预兆可实现载荷优化和及时的预防性维护,从而极大的降低运营支出、维护工时和故障停机时间。
      油质变化是轴承滚道出现点蚀、颗粒剪切的征兆之一。早期检测可在齿轮损伤产生之前发出警告。
      WQM在安装伊始即可实现检测,比其它有限的检测手段更早见效。测试表明WQM能发现常规实验室分析手段无法检测到的油质劣化,而振动和金属颗粒监测只能在损伤产生后才能检测到。
      WQM可高精度的测量油电导率、介电常数和油温,并通过类似神经网络的独特自适应温度补偿算法对电导率和介电常数的测量值进行补偿。
      油的电导率值极其小,以皮西门子每米表示。对电导率进行精密测量可反映油分子破裂化合物的形成、微粒子的产生以及添加剂的消耗。高灵敏度的WQM可以测量到低至0.1皮西门子每米(pS/ m)的电导率,并且所有的测量值都被准确的温度补偿以利于数据比对。
      相对电容率即介电常数。电容率将随着添加剂的消耗而不断下降,但在所有添加剂被耗尽时升高。通过监测相对电容率值,可以清晰的反映出油的变化。
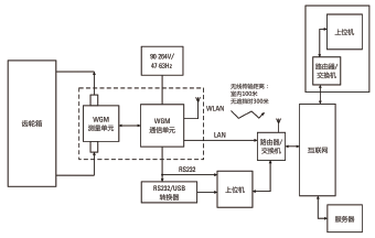
      基于网络的、集散监测系统非常适用于运行人员难以接近的或边远地区变压器的远程监控。测量数据可通过局域网、无线网络或串行端口进行传输。
      于美国构思、研发和生产的WQM代表了一种全新的、多用途的油状态在线监测手段。设备运行中油的变化首次得以被精确的、连续的在线检测,从而使载荷优化、降低磨损和运营成本的目标得以达成。


      • 载荷优化、减少磨损;
      • 在产生机械磨损之前发现问题;
      • 灵敏度高于振动监测和实验室分析仪器;
      • 易于改造工程安装;
      • 基于网络的分布式远程监测;
      • 实现状态检修,大大降低运营成本;
      • 免去相关的预防性试验外包服务,经济性显而易见;




原理图


安装图




   
相关产品
绝缘自动检测装置
风力发电机振动监测系统
风机桨叶状态监测系统
螺栓在线状态监测及报警系统
风力发电机塔筒及基础监测系统
风力发电机升压变运行状态监测
风力发电机雷击监测系统
风力发电机齿轮箱油质监测系统
风力发电机叶片无人机巡检系统
     
     
联系我们  
看看我们能做些什么来满足您的需要,现在就联系我们吧!  
 
 
  © 广州昊致电气自动化有限公司版权所有-2024       网站备案/许可证号:粤ICP备2021130486号-3